İlk katlanabilir iPhone’dan yeni bilgiler geldi

Apple’ın ilk katlanabilir iPhone’una ilişkin yeni bilgiler geldi. Şirket tarafından yapılan yeni patent başvuruları, katlanabilir iPhone’a ilişkin yeni iç görüler sunuyor.

Yeni keşfedilen patent başvurularına göre teknoloji devi, menteşeler aracılığıyla katlanıp açılabilen bir iPhone için çalışmalarına devam ediyor. Apple’ın yeni katlanabilir iPhone için geliştirmekte olduğu ekran teknolojine yönelik patent başvuruları arasında, kaydırılabilir veya rulolu ekranlarla genişleyebilen cihazlar da yer alıyor.

Katlanabilir iPhone, “dik açı” ile bükülecek

Şirketin aldığı “Katlanabilir ve Genişleyebilir Ekranlara Sahip Elektronik Cihazlar” başlıklı son patent, Apple’ın katlanabilir cihazlar konusundaki araştırmalarını daha ayrıntılı bir şekilde ele alarak potansiyel menteşe yapıları hakkında yeni detaylar sunuyor.

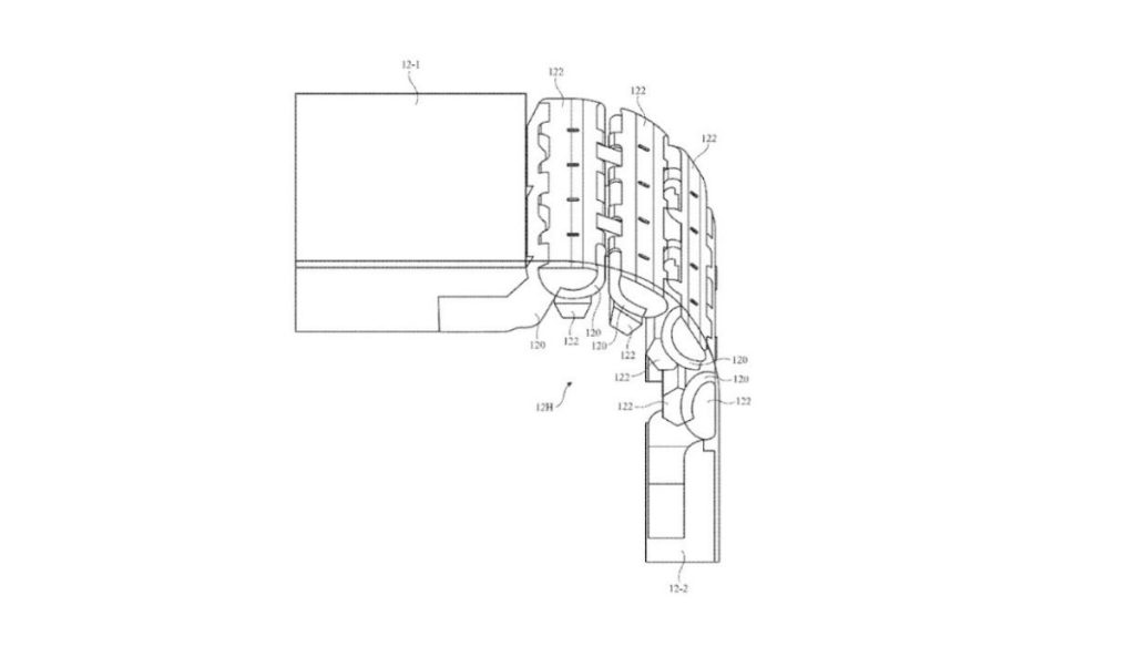
Söz konusu patent, ilk olarak Şubat 2020’de başvurusu yapılan ve yeni onaylanan katlanabilir bir cihazın “dik açıyla büküldüğünü” gösteren bir çizim içeriyor. Burada asıl dikkat çeken nokta ise bu çizimde tek bir bağlantı noktası yerine çoklu bağlantı menteşe yapısının bulunması olarak öne çıkıyor.

Öte yandan, bu, Apple’ın araştırdığı tek menteşe tasarımı da değil. Paten, menteşe yapılarının dişli çarklar, karışlar veya diğer hareket senkronizasyon yapıları ile bükülme sırasında birbirine göre hareket eden bileşenlere ilişkin unsurlar da içeriyor.

Hareket eden bileşenlerin “zıt eğimli yatak yüzeyleriyle birbirine bağlanan çubuklar ve bağlantılar” içerebileceği; ayrıca bu yapıların aşırı dönmesini engelleyen “durdurma yüzeyleri”ni kapsayabileceği belirtiliyor. Patent, menteşe mekanizmasının ekranın içinde dönen bir pivot noktası kullanabileceğini, ancak gerçek menteşe yapısının “ekranın kalınlığı içinde yer almayabileceğini” aktarıyor.

Apple’ın patenti, aynı zamanda “genişleyebilir veya kaydırılabilir ekranlara” da değiniyor. Patent, cihazın “katlanabilir, kaydırabilir, rulolu veya farklı hareket biçimlerini destekleyen bir tasarımda” olabileceğini gösteriyor. Buna ek olarak, patentte katlanma ve açılma sırasında iPhone ekranının zarar görmesini önlemek için menteşe mekanizmasının nasıl optimize edilebileceğine de değiniyor. Bu önlemler, şu şekilde listeleniyor:

  • Özel menteşe tipleri
  • Gerilim azaltıcı bileşenler
  • Durdurma yüzeyleri
  • Menteşeye uygulanan kuvveti kontrol eden sürtünme sistemleri

Apple’ın katlanabilir ekran teknolojisi başka cihazları da kapsayacak

Bunlarla birlikte, Apple’ın katlanabilir ekran teknolojinin yalnızca iPhone’lara özel olmadığını da belirtelim. Patent, katlanabilir ve genişleyebilir ekranların farklı cihaz türlerinde de kullanılabileceğine işaret ediyor:

  • Akıllı bileklikler
  • Kolye benzeri giyilebilir cihazlar
  • Dizüstü bilgisayarlar
  • Akıllı gözlükler ve sanal gerçeklik başlıkları
  • Kiosk sistemleri
  • Araç içi cihazlar

İlginizi çekebilir: Çentik mi, Dinamik Ada mı: Uzman isim, iPhone SE 4 tartışmasına son noktayı koydu

Bir yanıt yazın

E-posta adresiniz yayınlanmayacak. Gerekli alanlar * ile işaretlenmişlerdir

Total
0
Paylaş